Thank you for using Slingco® products. This manual must be read and understood prior to operating this product. Special attention should be paid to the section ‘Safety Information’.
READ and UNDERSTAND all of the instructions and safety information in this manual before operating or servicing this tool.
Failure to read and understand these warnings and safe handling instructions could result in severe personal injury or death.
Download this manual as PDF.
Slingco’s MLE guards are designed to provide cable management and protection to the MLE downhole.
Designed to be used with electrical submersible pumps (ESPs).
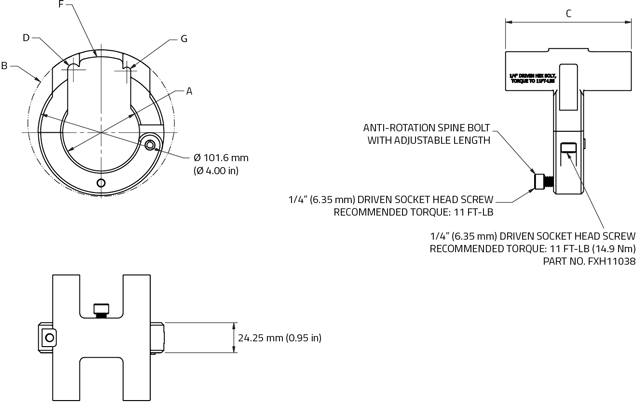
DO NOT remove spine bolt.
Torque rating: 11 ft-lb (14.9 Nm)
Material: 400 Grade Stainless Steel; 300 Grade Stainless Steel; 4140 Alloy Steel
Follow orientation on product
Each MLE Guard size is marked on the product.
Slingco Part No. | Description | ID Size ‘A’ | OD Size ‘B’ | Length 'C' | Cap line Ø ‘D’ | Cap line Ø ‘G’ | |||||
---|---|---|---|---|---|---|---|---|---|---|---|
in | mm | in | mm | in | mm | in | mm | in | mm | ||
ZMG12473 | Pump to Pump | 2.64 | 67.1 | 4.63 | 117.7 | 4 | 101.6 | 0.375 | 9.53 | 0.25 | 6.35 |
ZMG12474 | Pump to Discharge | 2.42 | 61.5 | 4.63 | 117.7 | 4 | 101.6 | 0.375 | 9.53 | 0.25 | 6.35 |
ZMG12475 | Seal to Seal | 2.25 | 57.2 | 4.63 | 117.7 | 4 | 101.6 | 0.375 | 9.53 | 0.25 | 6.35 |
ZMG11395 | Motor or Seal | 2.88 | 73.2 | 5.29 | 134.3 | 4 | 101.6 | 0.375 | 9.53 | 0.25 | 6.35 |
Slingco makes no warranty, express or implied, with respect to this product nor with respect to its specifications. In no event shall Slingco be liable for any direct, indirect, punitive, incidental, special consequential damages to property or life, whatsoever, arising out of or connected with the use or misuse of this product. This product is intended for use by qualified professionals having adequate knowledge of its proper use.
Version: V1.1.